
 
 全國免費客服電話 18268652722
全國免費客服電話 18268652722 郵箱:www.jungshuodz@163.com
手機:18268652722
電話:18268652722
地址:寧波市北侖區大碶廟前山路45號
人氣:


缺點也很明顯。外層屏幕貼膜容易劃傷,不能用尖銳的物體接觸屏幕。它是一個4線電阻式觸摸屏控制器,包含一個12位分辨率、轉換速率接近125KHz的A/D轉換器。例如,在四線觸摸屏的操作過程中,均勻的單向電壓梯度被施加到xxx芯片。在某些情況下,這比電容式觸摸屏更好,電容式觸摸屏需要電容式指針,例如裸露的手指(盡管一些電容式傳感器可以檢測手套,并且一些手套適用于所有電容式屏幕)。
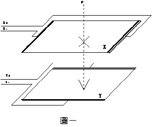
此時,分別獲得X坐標和Y坐標的最小值和最大值。根據液晶屏的分辨率,通過數學比例公式,采集得到的12位ADC值可以出現在觸摸屏的哪一部分被點擊。這些操作發生在幾毫秒內,記錄接觸時的準確觸摸位置,前提是屏幕針對電阻率的變化進行了正確校準。由于觸摸屏可以通過與幾乎任何物體(手指、手寫筆/筆、手掌)的接觸來感應輸入,因此電阻式觸摸屏是一種被動技術。
使用2.4' TFT 觸摸屏程序模擬數字鍵盤的小程序不能充當USB HID 設備,僅供參考,僅在Arduino UNO 上進行測試并使用TFT 觸摸屏驅動程序0x9341。 IPS電阻式觸摸屏內置ILI9341控制芯片和兼容Arduino接口的XPT2046觸摸屏控制芯片。
觸摸屏技術產生于20世紀70年代,首先應用于美國軍方。此后,該技術逐漸轉入民用。隨著電子技術、網絡技術的發展和互聯網應用的普及,新一代的觸摸屏技術和產品相繼出現。其耐用、響應快、節省空間、方便通訊等諸多優點已得到大眾的認可。它由一層涂有透明導電材料的透明導電薄膜組成。當手指或其他帶電物體接觸觸摸屏表面時,人體或物體的電荷會改變觸摸屏上的電場分布,通過檢測電場的變化來確定。觸摸位置。
當電阻式觸摸屏與顯示屏配合使用作為輸入設備時,其工作的本質是通過測量電阻在X、Y方向的分壓來確定觸摸屏的接觸坐標,并映射將坐標轉換為顯示屏的坐標,從而實現人機交互。 ITO是電阻式觸摸屏和電容式觸摸屏使用的主要材料。它們的工作表面是ITO涂層。用指尖或任何物體按壓外層,使表面薄膜凹陷變形,讓里面兩層ITO碰撞導電從而定位。到按下點的坐標來實現控制。
電阻屏放大圖片只能通過多次點擊來逐步放大圖片。這就是電阻屏的基本技術原理。觸摸檢測組件安裝在顯示屏前方,用于檢測用戶的觸摸位置并將其發送至觸摸屏控制器;觸摸屏控制器的主要功能是接收來自觸摸點檢測裝置的觸摸信息并將其轉換為接觸點坐標并發送給CPU,并可以接收來自CPU的命令并執行。
相關推薦